| Carl Haven Wiley
Diving Bell was an invention by Carl Haven Wiley and Elbert H.
Wiley owners of the Curtis-Wiley Marine Salvors, Sealttle
Washington. |
| |
|
|
|
|
|
This story about a huge salvage operation in 1933. My story
started in the beginning of 2000 when a friend of me handed over
a couple of pictures showing all kind of old diving gear. One of
these pictures he bought in Paris and was in black and white
showing a very unusually diving apparatus with an arm or grab.
On the backside of that picture there was a note typed with an
old style typewriter showing this text: |
| |
|
|
|
|
 |
| |
 |
| |
|
The picture itself shows a very unusual form of a diving
apparatus hanging on the side of a ship. I was highly interested
in the story about this apparatus, but until now I was not able
to find all details about this machine. In May 2013 Charles
Daigneault from Canada wrote me and told me about the story of
the SS Islander. He also made fantastic 3-D impressions of this
Wiley diving apparatus. But we should start in the
beginning....... |
| |
 |
| |
|
The Klondike Gold Rush, also called the Yukon Gold Rush, the
Alaska Gold Rush, the Alaska-Yukon Gold Rush and the Last Great
Gold Rush, was a
migration
by an estimated 100,000 prospectors to the
Klondike region
of the
Yukon
in north-western
Canada
between 1896 and 1899.
Gold
was discovered here on August 16, 1896 and, when news reached
Seattle
and
San Francisco
the following year, it triggered a "stampede"
of would-be prospectors. The journey proved too hard to many and
only between 30,000 and 40,000 managed to arrive. Some became
wealthy; however, the majority went in vain and only around
4,000 struck gold. The Klondike Gold Rush ended in 1899 after
gold was discovered in
Nome,
prompting an exodus from the Klondike. It has been immortalized
by photographs, books and films.
(source Wikipedia).
|
August 19
1901 this Klondike gold was transported by the SS
Islander belonging to the mighty
Canadian Pacific Navigation Company.
At 2:05 a.m. a shock went through the ship
caused by a collision.
The
Islander, once the presumed unsinkable steel hulled flagship of
the Canadian Pacific Navigation Company, struck a submerged rock
or iceberg while steaming at 15 knots and went under in less
than 20 minutes. |
| |
 |
| The ship left
Skagway and hit the iceberg near Douglas Island. In the book of
Leonard Delano two possible locations are marked where the
collisions could have taken place |
| |
 |
| |
|
Numerous attempts to salvage the wreck were made, but it was not
until 1934 that the remains of the Islander were raised from 300
feet. |
|
Most of the 170 persons on board were lost. With reports of gold
on board, talk of salvage began almost immediately, but the
depth of the wreck exceeded the limits of contemporary diving
equipment. It wasn’t until 1921 that the wreck was discovered in
300 feet of water. It was viewed from a diving bell in 1929, and
in 1934 a monumental salvage attempt was undertaken by use of
the GRIFFSON and another barge. By cradling the ISLANDER on
cables run between the two barges and using extreme tide cycles
for lifting, the vessel was moved to the beach. |
| |
| On board of the
salvage barge GRIFFSON was a photographer called Leonardo H.
Delano. His son Doug Delano wrote a book about this salvage and
used the pictures his father made. On this salvage the diving
apparatus of Wiley was used to get the pull cables underneath
the wreck. A very nice book to read and own can be order through
ISBN 13: 978-1-4507-3660-2. It shows amazing pictures of this
salvage! |
| |
 |
| |
If you want to read more about the Islander what happened to the
ship and why the gold has never been found I would suggest to
have a look at the website of Nicolas Messinger who dedicated a
page to SS Islander and the missing gold! You find his website
here:
http://www.nickmessinger.co.uk/islander.html |
| |
| |
 |
| |
|
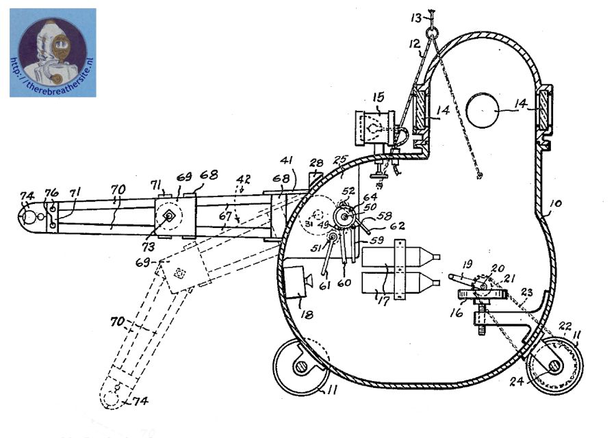
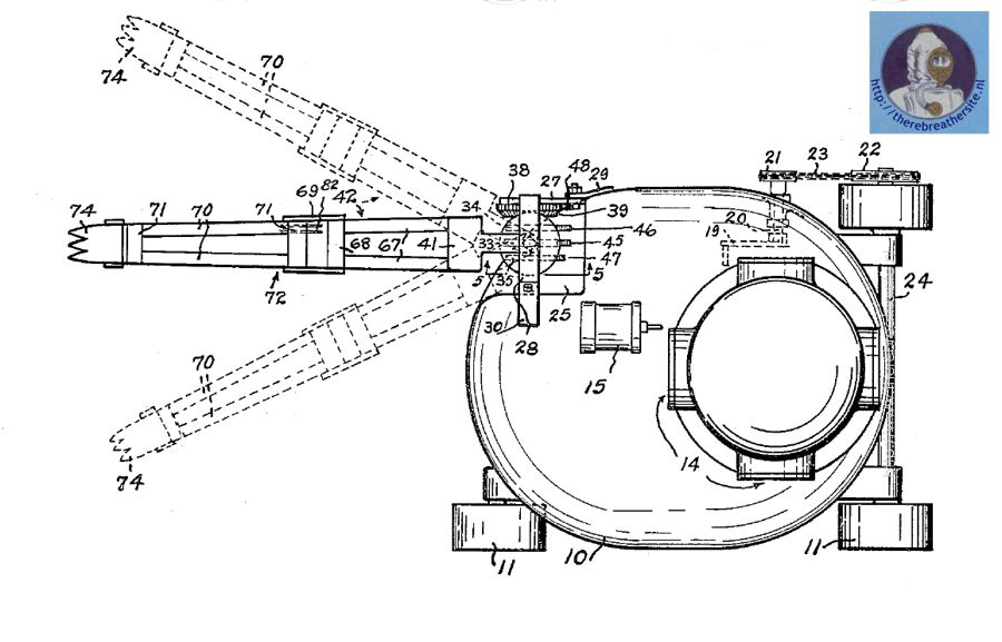
The Wiley "Bell" is not a bell. It is a atmospheric diving
apparatus. You could call it a one man submarine. Carl Wiley and
his companion inventor Elbert H. Wiley patented their invention
in 16-12-1931. (US 1979782). It was approved in 1934. It
used a grab and electric light. Also it could drive on hard
surfaces using three steel wheels. Inside on a chair was the
operator breathing pure oxygen using a rebreather principle.
There invention was shown in a American magazine called popular
mechanixs issue October 1931 |
| |
 |
| |
 |
| |
 |
| |
 |
| courtesy Popular
Mechanics |
 |
| courtesy Popular
Mechanics |
 |
| courtesy Popular
Mechanics |
 |
| courtesy Popular
Mechanics |
 |
| courtesy Popular
Mechanics |
|
In May 2013 Charles Daigneault from Canada send me his absolute
fantastic 3-D impressions of this Wiley diving apparatus. Here
is his artist impression he allowed me to publish on
Therebreathersite. I am very great full to Mr. Daigneault
for his incredible patience in making this for the diving
history so important pictures! Thanks CHARLES !! |
| |
 |
| Courtesy Charles
Daigneault |
 |
| Courtesy Charles
Daigneault |
 |
| Courtesy Charles
Daigneault |
 |
| Courtesy Charles
Daigneault |
 |
| Courtesy Charles
Daigneault |
 |
| Courtesy Charles
Daigneault |
 |
| Courtesy Charles
Daigneault |
 |
| Courtesy Charles
Daigneault |
 |
| Courtesy Charles
Daigneault |
Finally
there is a YouTube movie made by Charles Daigneault showing the
3D impression of this great apparatus:
YOUTUBE
MOVIE |
| |
I would like to
thank John W, Charles Daigneault and Nick Messinger for there
kind cooperation to make this article possible. If you have
additional information about the diving apparatus made by Wiley
I would very much appreciate if you would sent it to me!
please send your information to:
jw.bech@quicknet.nl
|
| |
|
|
|
|
| |
|
|
|
22 September 2013 |