BoydPicture1.jpg
 
BoydPicture2.jpg
 
BoydPicture3.jpg
 
BoydPicture4.jpg
 
BoydPicture5.jpg
 
Not much could be found about this inventor. If you have any information about Mr. William. S. Boyd  I would be pleased receiving more information about him or his invention.
 
November  2009
 
Please sign my Guestbook
Email: jw.bech@quicknet.nl

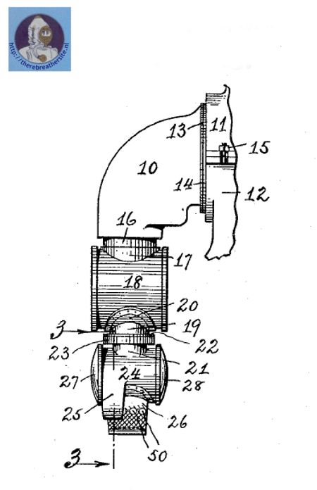
William S Boyd lived in Greatkills Richmond New York in 1916. He patented a new type watertight joint. The improvement against MacDuffee 989530 's invention was a new type of submarine armor especially an improvement to protect the hand of the operator and enable to operate the armor using his hands in a natural, though limited manner. The Metallic handsection included a finger piece. Before all hand had a gripping mechanism operated by axes from the inside of the diving armor

Menu Atmospheric suits

Updates

Speedmenu

Search page

Webshop

Home


GO BACK TO
ATMOSPHERIC
DIVING SUITS.

Therebreathersite:
Mainmenu:

 
Search this Website
 Information about RB
 Photo galleries
 Historical Information
 Links & Downloads
 Reviews
 Homebuilders
 Electronics
 Updates, speed menu
 Web shop
 Reviews SC rebreathers
 Reviews CC rebreathers
 RB’s through the ages
 Inspiration rebreather
 Database Oxygen RB’s
 Database Semiclosed RB’s
 Updates
 Speed menu
 Search this web
Banner Boyd