| After his inventions in 1902 - 1904 Petrie patented in US patent 984104 the following invention: |
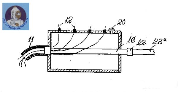
| 1. The combination with a diving suit, of a relatively large hose connected at its upper end with a pop valve, and a smaller air supply pipe extending through the hose and into the suit |
| 2. The combination with a diving suit, of an air box having a pop valve, an exhaust pipe connecting to the diving suit and the box and connected to the diving suit and containing within the exhaust pipe, and wires for signalling and other purposes extending from the diving suit through the exhaust pipe to the air box. |
| 3. The combination with a diving suit, of a hose connected with the suit, and wires for signalling or other purposes embedded in the hose |
| 4. The combination with a diving suit of the air box having a controllable exhaust, an exhaust pipe connecting the diving suit and box, and an air supply pipe leading through the box and through the exhaust pipe to the diving suit. |
![]() |
![]() |
![]() |
| December 2008 |
| Please sign my Guestbook |
| Email: jw.bech@quicknet.nl |
Enos B. Petrie 1911
In 1911 Enos B. Petrie patented a sort of umbilical, in fact the air hose with communication integrated.
