|
Submarine Escape |
|
Sydney Stuart Hall and Oswald Rees residing on HMS Mercury patented
their invention in 1908 with US 896447 Professor Georges Francois Jaubert was a Swiss chemist who invented Oxylithe and has numerous patents on his name. Patents related to the oxylithe are for example GB 1907 patent 17242 |
![]() |
| courtesy Royal Navy Submarine Museum |
![]() |
![]() |
| courtesy Royal Navy Submarine Museum |
![]() |
![]() |
![]() |
![]() |
![]() |
![]() |
![]() |
![]() |
![]() |
![]() |
![]() |
| If you have additional information about the Hall and Rees escape apparatus please send your info to jw.bech@quicknet.nl |
| December 2008 |
| Please sign my Guestbook |
| Email: jw.bech@quicknet.nl |
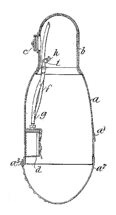
Hall and Rees submarine escape apparatus.
Although not
directly related to atmospheric diving suits, the invention of a rebreather for
escape purposes using Oxylithe is worth mentioning here.
