|
William Carey's patent can be read here: LINK |
|
|
![]() |
![]() |
![]() |
![]() |
![]() |
![]() |
![]() |
![]() |
![]() |
![]() |
![]() |
![]() |
![]() |
| Please sign my Guestbook |
| Email: jw.bech@quicknet.nl |
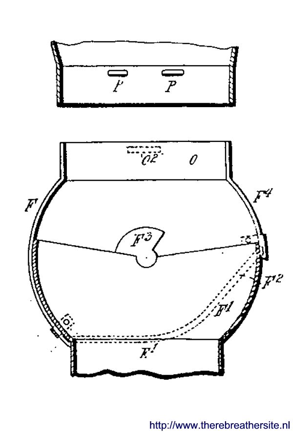
The strange-looking suit shown in the figures where invented by William Carey,
of
William Carey a colonel of the Royal Artillery did not offered a working
model when he obtained his patent.
