|
Joseph L. Boucher and Emery H. Brault and Romuald Filteau's patent can be read here: Boucher Brault Filteau's patent |
|
|
|
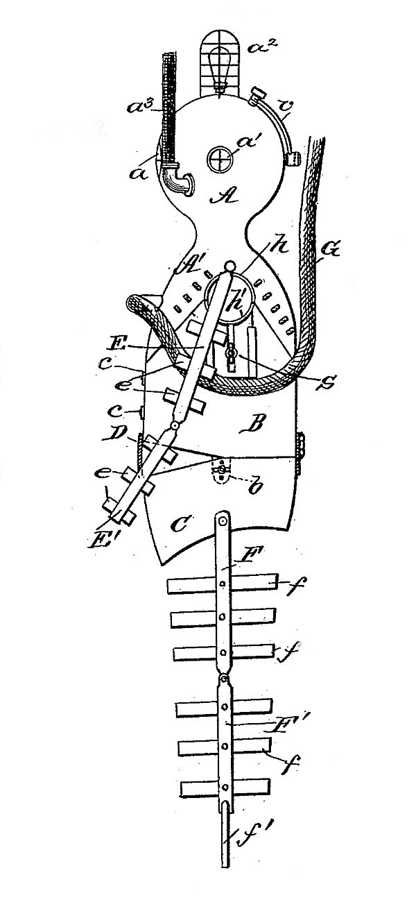
Joseph L. Boucher and Emery H. Brault and
Romuald Filteau
took out a patent for an improved diving-dress in 1891. They do not
seem to have hampered by any previous acquaintances with practical
diving operations, for they calmly state;
“… With the
ordinary diving suit the pressure of the water on the body and limbs
increases in such ratio as the diver descends that it is not
practical to work at a greater depth than about forty feet…”
After this, it is
scarcely surprising to find that the invention itself is typical of
the amateur dabbler. It consists of three pieces of armour,
interlocking in the manner of a jig-saw puzzle, and covering the
diver’s head and trunk. Over this an ordinary diving-dress is to be
worn. As in the case of Don Quixote’s helmet, cardboard armour would
look just as well and be equally useful.
R.H. Davis "Deep
Diving and Submarine Operations" page 590 |
![]() |
![]() |
![]() |
![]() |
![]() |
| Please sign my Guestbook |
| Email: jw.bech@quicknet.nl |
Stiffen the rubber suit on
the outside of the sheet metal protected trunk, by adding a number of circular
rings around the arms and legs.
