 |
 |
 |
| |

Second Hand LAR V for sale on Boot 2005. Remarkable... |
| |

Aldo's mixer
http://www.bubnotbub.com/mpsstaticmixersystemsENG.htm |
| |

65 Ah 2 meter German Scooter ;)) |
 |
| |
 |
| |

M&J San Diego California offers a superb gas switch block. There code GSB
1000.
It is made extremely compact and a big advantage is when switching gas the
knob has to be turned 180 degrees!
The price is less than euro 300 !!
M&J website: http://www.omniswivel.com
12520 Kirkham Court #1
Poway, CA 92064
Phone: 858.748.9442
Fax: 858.679.1632
Great stuff!
Owner speaks Dutch / English / USA / Japanese ;)) |
 |
| |
 |
| |

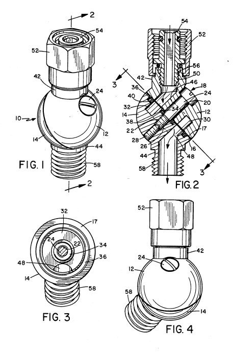
They also sell very nice oxygen service swivels and these are patented: US
patent 5275444
O-rings in oxygen compatible (brawn
Viton
Christolube grease) |

Inventor: Johan G. Wythoff patent: 5275444
If you are looking for adaptors, switches manifolds, they offer a large
program for technical divers! |
| |
| |
 |